Многофункциональный таймер-реле Новатек ЕМ-125 (3425680125)
НАЗНАЧЕНИЕ ИЗДЕЛИЯ
Многофункциональный таймер-реле ЕM-125 является микропроцессорным устройством, предназначенным для домашней автоматизации – умная розетка. ЕМ-125 позволяет включать-выключать нагрузку по расписанию или в ручном режиме, одновременно защищая нагрузку от различных аварий по напряжению и перегрузки по мощности. После регистрации на сервере «my.overvis.com» управление и настройка EM-125 возможны из любой точки мира, где есть интернет-подключение. ЕМ-125 накапливает статистику энергопотребления в реальном времени и отправляет накопленные данные на сервер «my.overvis.com», в результате чего можно просматривать сохраненные отчеты за неделю, месяц или год. Вы можете экономить электроэнергию используя ЕМ-125 для управления климатическими и водонагревательными приборами по заранее запланированному расписанию.
Основные возможности
• Измерение напряжения и частоты сети;
• Измерение тока, потребляемого нагрузкой;
• Измерение мощности, потребляемой нагрузкой;
• Учет электроэнергии, потребленной нагрузкой;
• Защита нагрузки от аварийных напряжений в сети;
• Защита нагрузки по превышению тока потребления;
• Защита нагрузки по превышению мощности потребления;
• Часы реального времени с резервом хода до 5 суток (при отсутствии питания);
• Автоматическая синхронизация времени с сервером точного времени (SNTP);
• Автоматическое управление нагрузкой по расписанию, заданному пользователем;
• Планирование отпуска (с блокировкой выполнения программы);
• Ограничение времени работы нагрузки;
• Ручное управление нагрузкой с лицевой панели;
• Блокировка ручного управления через заданный промежуток времени (защита от детей).
ТЕХНИЧЕСКИЕ ХАРАКТЕРИСТИКИ
- Номинальное напряжение питания 220 – 240 В
- Частота питающей сети 45 - 62 Гц
- Напряжение, при котором сохраняется работоспособность 100 - 400 В
- Максимальный коммутируемый ток при активной нагрузке 16 А
- Мощность подключаемой нагрузки, не более 3,6 кВт
- Время готовности при подаче напряжения питания, не более 0,4 с
- Точность измерения напряжения сети ±3 В
- Точность измерения тока нагрузки ±0,3 А
- Точность хода часов реального времени 1 ±1 с/сутки
- Резерв хода часов реального времени 2 до 5 суток
- Частота Wi-Fi 2,412-2,484 ГГц
- Поддерживаемые стандарты Wi-Fi IEEE 802.11 b/g/n
- Протокол шифрования Wi-Fi WPA2/PSK
- Протокол синхронизации времени с SNTP сервером есть
- Протокол обмена данными с «my.overvis.com» сервером есть
- Максимальное число событий (расписание) 512
- Максимальная длина журнала 10 000 записей
- Тип записи журнала по кольцу
- Период записи журнала 5 мин
- Назначение изделия Аппаратура управления и распределения
- Номинальный режим работы Продолжительный
- Климатическое исполнение УХЛ 4
- Степень защиты изделия IP30
- Коммутационный ресурс выходных контактов при cos φ= 1: - под нагрузкой 16 А, не менее - под нагрузкой 5 А, не менее 100 тыс. раз 1млн. раз
- Потребляемая мощность (под нагрузкой), не более 2,5 Вт
- Допустимая степень загрязнения II
- Категория перенапряжения II
- Класс защиты от поражения электрическим током I
- Номинальное напряжение изоляции 450 В
- Номинальное импульсное выдерживаемое напряжение 2,5 кВ
- Масса, не более 0,16 кг
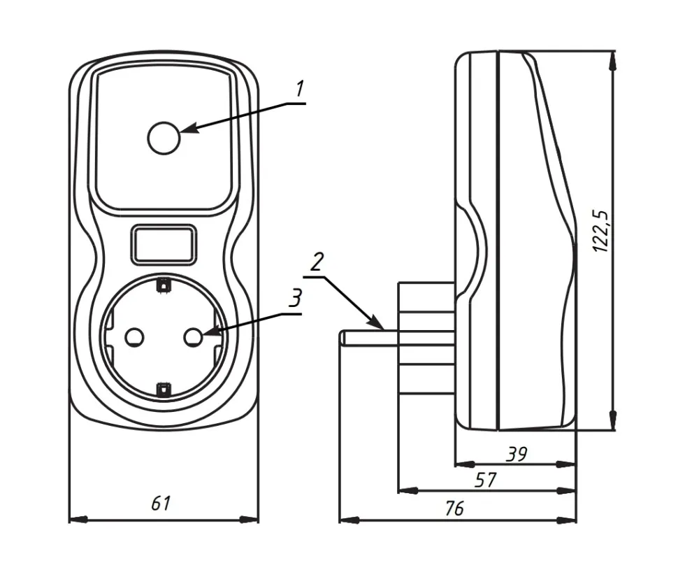
- Габаритные размеры, HxBxL 122,5х61х76мм
Изделие сохраняет свою работоспособность при любом положении в пространстве
Материал корпуса - самозатухающий пластик
Вредные вещества в количестве, превышающем предельно допустимые концентрации, отсутствуют
¹ - при условии, что включена синхронизация с сервером SNTP;
² - при условии, что изделие проработало от сети не менее 30 минут.